| GS-35b |
| Triode |
|
The GS-35b triode provides
continuous wave generation in external-feedback self-sustained oscillators
and grounded-grid amplifiers up to 1,000 MHz. The GS-35a version of
this tube which is intended for water cooling, which adds 500W to the
allowable anode dissipation. As with most Russian power triodes, the
heat sink on the GS-35b is removable. |
| GENERAL | |
| Cathode: indirectly heated, dispenser, oxide-coated. | |
| Envelope: metal-ceramic. | |
| Cooling : forced air. Click on "cooling" link for details! | |
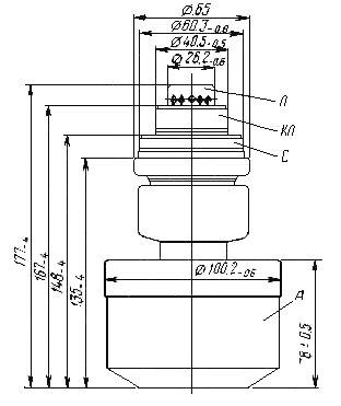
| Height, mm, at most: | with heat sink: 177 |
| without heat sink: TBD | |
| Diameter, mm, at most: | with heat sink: 100.2 |
| without heat sink: 65 | |
| Mass, kg, at most: | with heat sink: 2.8 |
| without heat sink: TBD | |
|
|
|
| ENVIRONMENTAL OPERATING CONDITIONS | |
|
Vibration loads: | |
| frequency, Hz | 50-200 |
| acceleration, m/s² | 59 |
| Multiple impacts with acceleration, m/s² | 343 |
| Linear loads with acceleration, m/s² | 88 |
| Ambient Conditions: | |
| Temperature, °C | -60 to +70 |
| Relative humidity at up to +35 °C, % | 98 |
| NOMINAL ELECTRICAL PARAMETERS | |
| Heater voltage, V | 12.6 |
| Heater current, A | 2.95 |
| Mutual conductance (Va = 2KV, Ia = 250mA, change in Vg = 1V), mA/V, at least | 32.5 |
| Operating point (negative Vg with Va = 2.5KV, Ia = 400mA), V | 9 |
| input capacitance, pF | 21 |
| output capacitance, at most, pF | 4.4 |
| transfer capacitance, pF | <0.12 |
| Warm up time, s, at most | 90 |
| Output power, Va = 2.5KV, Ia = 700mA, wavelength 60 cm, W: | >800 |
| Output power, Va = 2.2KV, Ia = 800mA, wavelength 30 cm, W: | >350 |
| Designed Tube Life (hours) | >500 |
| ELECTRICAL PARAMETER LIMITS | |
| Heater voltage, V | 11.9-13.3 |
| Heater current, A | 2.65-3.25 |
| Mutual conductance (Va = 2KV, Ia = 250mA, change in Vg = 1V), mA/V, at least | 25-40 |
| Operating point (negative Vg with Va = 2KV, Ia = 250mA), V | 6-12 |
| input capacitance, pF | 18-24 |
| output capacitance, pF | 3.8-5 |
| Maximum CW Anode voltage (Va), KV: | 3 |
| Maximum Instantaneous value Anode voltage (Va), KV: | 6 |
| Instantaneous value Grid voltage (Vg), V | -400 to +120 |
| Maximum CW Cathode current (Ic), A | 1.4 |
| Anode Dissipation, air cooling W: | 1.5x103 |
| Anode Dissipation, water cooling W: | 2.0x103 |
| Grid Dissipation, W: | 26 |
| Temperature at anode lead, °C | 200 |
| Temperature at cathode and grid leads, °C | 120 |
| Wavelength,cm | 28-100 |
|
| Averaged Anode and Grid-Anode
Characteristic Curves: Uf = 12.6V _____ anode; _ _ _ grid-anode |
|
|